ARAMA   

  ESEN METAL - ÇİNKO ANOTLAR

Çinko anotlar ortam rezistivitesinin 2000 ohm.cm’ den düşük olduğu tuzlu su, tatlı su ve toprak zemin içindeki demir ve çelik yapıların katodik korumasında kullanılırlar.

Genellikle kullanıldıkları yerler şunlardır:

• Gemi, tekne, yat ve römorkörler
• Gemilerin balast tankları
• İskele ve kazıklar
• Boru hatları
• Isı değiştiriciler

Esen Metal olarak üretmekte olduğumuz çinko anotlar 99,99 % saflıktaki külçelerden, ASTM-B418 Tip I ( Mil-Spec. A-18001 J ) ve ASTM-B418 Tip II standartlarına uygun olarak dökülmektedir. Deniz suyu ve tuzlu çamur gibi ortamlarda Tip I ( Mil-Spec. A-18001 J ), tatlı su ve toprak zemin gibi ortamlarda ise Tip II alaşımı kullanılmaktadır.

Toprak zeminlerde kullanılacak olan çinko anotlar ortam rezistivitesini düşürmek ve anotun üniform bir şekilde çalışmasını sağlamak amacıyla 25 % jips, 50 % bentonit, 25 % sodyum sülfat karışımıyla bez çuvallara doldurularak paketlenmektedir.
 

KİMYASAL BİLEŞİM

ELEMENT
MIL-SPEC. A-18001 J
ASTM-B418-95a
TYPE I
ASTM-B418-95a
TYPE II
Al
0.1 - 0.5
0.005 % max
Cd
0.025 - 0.07
0.003 % max
Fe
0.005 % max
0.0014 % max
Pb
0.006 % max
0.003 % max
Cu
0.005 % max
0.002 % max
Çinko
Kalan
Kalan


ELEKTROKİMYASAL ÖZELLİKLER

E. ÖZELLİKLER
MIL-SPEC. A-18001 J
ASTM-B418-95a
TYPE I
ASTM-B418-95a
TYPE II
Teorik Akım Kapasitesi
820 A.saat/kg 10.66 kg/A.yıl
820 A.saat/kg 10.66 kg/A.yıl
Anot Akım Verimi
95 %
90 %
Gerçek Akım Kapasitesi
780 A.saat/kg
11.22 kg/A.yıl
740 A.saat/kg
11.84 kg/A.yıl
Potansiyel ( Cu/CuSO4 )
1100 mV
1100 mV
Çeliğe Karşı Devre Pot.
250 mV
250 mV
Yoğunluk
7.13 g/cm³
7.14 g/cm³


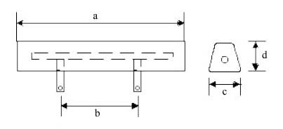
ANOT BOYUTLARI

ANOT
TİPİ
ANOT BOYUTLARI ( mm )
ANOT AĞIRLIĞI (kg)
a
b
c
d
e
f
BRÜT
NET
ZN
HULL
ÇİNKO HULL ANOTLAR
ZH-17
200
150
80
30
20
3
1.7
1.6

Z-30
290
230
80
30
25
5
3.0
2.7
Z-34
300
240
80
34
25
5
3.4
3.1
Z-40
315
255
80
40
25
5
4.0
3.7
Z-50
410
350
80
34
25
5
5.0
4.6
Z-64
505
445
80
34
25
5
6.4
5.9
Z-76
475
415
95
35
25
5
7.6
7.1
Z-100
480
420
120
35
30
6
10.0
9.3
Z-107
485
425
120
38
30
6
10.7
10.0
Z-124
490
430
120
45
30
6
12.4
11.7
Z-146
635
535
120
43
30
6
14.6
13.7
Z-170
710
610
120
40
40
6
17.0
15.7
Z-200
720
620
120
48
40
6
20.0
18.7
Z-226
860
760
120
43
40
6
22.6
21.0
Z-250
870
770
120
48
40
6
25.0
23.4
ZY-54
360
300
130
30
30
5
5.4
5.0
ZY-75
360
300
130
40
30
5
7.5
7.1

ZD-23
245
195
70
30
25
5
2.3
2.1
ZD-55
360
300
80
38
25
5
5.5
5.1
ZD-60
360
300
80
42
25
5
6.0
5.6
ZD-75
445
385
80
38
30
5
7.5
7.0
ZD-88
450
390
85
45
30
5
8.8
8.3
ZD-118
440
380
125
43
40
6
11.8
11.0
ZD-130
440
380
125
48
40
6
13.0
12.2
ZD-140
880
780
80
38
30
6
14.0
12.8
ZD-165
885
785
85
45
30
6
16.5
15.3

ZT-100
255
355
165
35
30
5
10
9.4
ZC-100
355
165
160
35
15
6
10
9.6
ZC-60
300
80
50
60
20
-
6.0
5.8
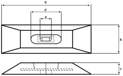
ZN
BALLAST
ÇİNKO BALAST TANKI ANOTLARI

ZTB-95
1485
935
40
40
8
8
9.5
8.5
ZTB-220
1750
1200
50
50
12
12
22.0
20.2
ZTR-95
1235
935
40
40
8
8
9.5
8.7
ZTR-220
1500
1200
50
50
12
12
22.0
21.0

ZTL-95
935
560
40
40
30
5
9.5
8.7
ZTL-220
1200
560
50
50
40
5
22.0
20.2
ZN
CONDEN.
ÇİNKO KONDANSÖR ANOTLARI
ZK-6
60
25
-
-
-
-
0.5
-
ZK-10
100
25
-
-
-
-
1.5
-
ZK-15
150
25
-
-
-
-
3.0
-
ZN
HEATER
ÇİNKO ISITICI SİSTEM ANOTLARI
ZL-25
500
350
30
25
-
-
1.8
1.7
ZL-50
300
250
40
50
-
-
4.2
4.0
ZL-70
200
150
40
70
-
-
5.4
5.2
ZL-80
200
150
40
80
-
-
7.2
7.0
ZL-90
200
150
50
90
-
-
9.0
8.7
ZL-110
400
300
100
110
-
-
27.0
26.0
ZN
ROD
ÇİNKO ÇUBUK ANOTLAR
ZR-25
500
25
-
-
-
-
-
1.7
ZR-50
300
50
-
-
-
-
-
4.2
ZR-70
200
70
-
-
-
-
-
5.5
ZR-80
200
80
-
-
-
-
-
7.1
ZR-90
200
90
-
-
-
-
-
9.0
ZR-110
400
110
-
-
-
-
-
27.0
ZN
SOIL
TOPRAK ALTI ÇİNKO ANOTLAR
ZS-54
610
36
36
-
-
-
5.4
5.2
ZS-80
935
36
36
-
-
-
8.0
7.7
ZS-95
935
40
40
-
-
-
9.3
9.0
ZS-215
1200
50
50
-
-
-
21.5
20.8
"Bu sitede yayinlanan bütün teknik bilgi, ölçü ve resimlerin her hakki ESEN METAL firmasina  aittir. Yayinlanan teknik bilgi , ölçü ve resimler hangi amaçla olursa olsun yazili müsaademiz olmadikça çogaltilamaz, kaynak gösterilmek sartiyla dahi özetlenerek veya kismen basilip yayinlanamaz.  Bu konuda Istanbul Mahkemeleri müracaat merciidir. Bu sitede verilen teknik bilgi, ölçü ve resimler üzerinde kismen veya tamamen, önceden haber vermeksizin degisiklik yapma veya iptal etme hakkimiz mahfuzdur."
korozyon,cinko tutya,çinko tutya anot,yüksek potansiyelli,az-63,katodik koruma şaft tutyası,magnezyum anot,çinko anot,tutya,alüminyum anot,aluminyum anot,cathodic protection,anot,yüksek potansiyelli magnezyum anod,şaft tutyası,aluminyum tutya,magnesium anod,galvanik anot,magnezyum döküm,magnezyum,yüksek potansiyelli,az-63korozyon,çinko,alüminyum,catodic protection,karina tutyası,magnezyum döküm anot,katodik,koruma,yüksek potansiyelli,az-63,az63,2 libre,17 libre,5 libre,tutyacı,high potential,10 libre,tutya,yat tutyası,gemi tutyası,korozyon,katodik koruma,32 libre,cathodic protection,cathodic,protection,corrosion,high potantial,yüksek potansiyelli,az-63,demirin korozyonu,korozyonun önlenmesi,termosifon korozyonu,gemilerde korozyon, korozyon,sacrificial,korozyon,galvanic,anode,korozyon,anodes,katodik koruma tutya,termosifon anotu,katodik koruma tutya,karina tutya korozyon,az-63,magnezyum anod,katodik koruma tutya,korozyon,esen metal,esenmetal,mağnezyum,cinko anot,koruması,yüksek potansiyelli,az-63,farwest,az63 katodik koruma,az-63,korozyon boyler,korozyon tutya,az63,çinko tutya,alüminyum tutya,aluminyum tutya,metal,corrpro,corrosion,reference electrode,zinc,ribbon,korozyonun önlenmesi,demir silikon,dual anot,galvanik usul,gemi tutyası,yat,yacht,yat tutyası,tekne,deniz,denizaltı,hull,tse,karina,magnesium rod anode,anotec,direnaj anot,direnaj anotu,marina,boya,gemi boyası,tersane,shipyard,pervane,şaft,gemi pervanesi,tutyası,tutyasi,yat tutyası,gemi tutyası,referans elektrot,referans elektrod,doğalgaz,doğalgaz malzemeleri,galvotec,titanium,doğalgaz montaj malzemeleri,doğalgaz tesisatı,igdaş,igdas,termosifon anotu,az63,çubuk magnezyum anot,flanş,düz flanş,borulu flanş,servis kutusu,test manometresi,yüksek potansiyelli az63,sargam metals,izole flanş,tutyacı,gemi tutyaci,yat tutyacı,harbor,izole flanş takımı,referans elektrot,polcor,referans elektrod,matcor,avometre,referans elektrot,alüminyum tutya,doğalgaz borusu,genleşme, fittings,tse,malzemeleri,interferans,tecnoseal,sıcak sargı bantı,tseli,tse,yüksek potansiyelli,hp,m1 tip,stuart steel,soğuk sargı bantı,bantları,izolasyon bandı,dual,ishale hattı,iski,borusu,çelik,lpg,tankı,boyler katodik koruma,tanklarının,koruması,doğalgaz boru hattı,petrol boru hattı,içme suyu,boru hattının,tank tabanının,botaş,botas,katodik koruması,boylerlerin,titanyum,titanium,oxide,demir silikon,karma oksit,mixed oxid,yuxi,platin,global,magnesium casting,doğalgaz borusu katodik koruması,termosifon korozyon,boyler korozyonu,aberdeen,nato petrol boru hattı,romörkör,gemi,boyler,boiler,termosifon anotu,water heater,WATER HEATER,CATHODIC PROTECTION,TERMOSİFON,KOROZYON,KATODİK KORUMA,termosifonların korozyona karşı önlemi,az63,elektrikli termosifonun katodik koruması,MAGNEZYUM ANOT,MAGNESIUM ANODE,ZINC ANODE,TS,MAGNEZYUM ANOD,GEMİ TUTYASI,benzin istasyonu,istasyonunun,tse,kum döküm,demirdöküm termosifonu,viessman,promax,boiler,SACRIFICIAL ANODES,TSE,CORROSION,BOILER,CATWELD,REFERENCE ELECTROD,REFERANS ELEKTROD,baymak,kadvelt,YAT TUTYASI,TERMOSİFON ANOTU,TERMOSİFON BOYLER ANOTU,ALÜMİNYUM TUTYA,ÇİNKO TUTYA,ESEN METAL,MAGNEZYUM DÖKÜM,YÜKSEK POTANSİYELLİ,BOYLER,TERMOSİFON,REFERANS ELEKTROD,GALVANİK ANOT,REFERANS ELEKTROD,TUTYA,DİRENAJ ANOTU,DUAL ANOT,ESEN METAL TUTYA,AZ-63,17 LİBRE,YÜKSEK POTANSİYELLİ 17 LİBRE,2 LİBRE MAGNEZYUM ANOT,TUTYACI,KATODİK KORUMA,2 LİBRE,17 LİBRE,10 LİBRE,ALÜMİNYUM TUTYA,LAMALI TUTYA,ÇİNKO ANOT KATODİK KORUMA,ALUMİNYUM ANOT,ÇİNKO ANOT,CİNKO ANOT,ALÜMİNYUM ANOT,KATODİK KORUMA,TUTYA,TUTYACI,KATODİK KORUMA ÇİNKO ANOT,KATODİK KORUMA TUTYACI,ÇİNKO TUTYA GALVANİK ANOT ŞAFT TUTYASI,KARİNA TUTYASI,ÇİNKO TUTYA,KARİNA ANOTU,LAMALI ÇİNKO TUTYA,DEMİR LAMALI ÇİNKO TUTYA,ÇELİK LAMALI ÇİNKO ANOT,TUYA,ŞAFT TUTYASI, direnaj anotu,katodik koruma direnaj anotu,kaçak akım direnaj anot,civatalı çinko anot,civata delikli çinko tutya,deniz otobüsü tutyası,yat tutyası, çinko referans elektrod,çinko anot dökümü,çinko tutya dokumu,zinc anode,sacrificial anodes,galvanic anode zinc anodes,yatların katodik koruması,tutya, zn-cd çinko anot,anot hesabı,tutya hesabı,karina tutyası,gemi tutyası,yat tutyasi,yüksek koruma tutyalar,civata delikli tutya,gemi karinası için tutya, dümen ve pervane tutyası,katodik koruma hesabı,esen metal çinko tutyalar,gemilerin katodik koruması,yat tutyalari,tutyacı,çinko anot tutyaci,tutya imalatı, catweld,katweld,tseli,direnaj anotu,dual anot,yüksek potansiyelli,titanyum anot,titanyum anot korozyon,çinko anot,karina tutya hesabı,termosifon anotu